Со желба дополнително да ги заштити пешаците, германскиот производител на луксузни автомобили патентираше воздушни перничиња поставени на надворешноста на автомобилот.
Компанијата Daimler патентираше специјални воздушни перничиња поставени во предните, А-столбови на автомобилот кои дополнително ќе ги заштитуваат пешаците во случај на незгода.
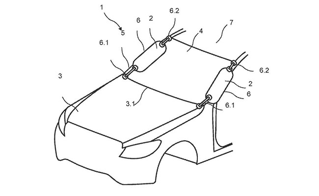
Патентот е продолжение на идејата поклопецот на моторот да се издигнува нагоре во случај на удар на пешак, со цел да го заштити од удар со нешто цврсто – поточно, моторот. Сензори поставени на предниот дел на автомобилот ќе „очекуваат“ близок контакт меѓу автомобилот и пешакот – и доколку тоа се случи, воздушните перничиња ќе се отворат за да го заштитат.

Новите воздушни перничиња ќе бидат обвиени во специјален материјал, и ќе бидат скриени во А-столбовите, со што ќе бидат „невидливи“. Едниот дел се прицвстува за горниот дел на А-столбот, а другиот крај за крајот на поклопецот на моторот, а дизајнот на перничињата дозволува тие да се движат со поклопецот на моторот доколку тој се отвори при контакт со пешак.
Целата идеја е – наместо главата на пешакот да удри во ветробранското стакло, А-столбот или нешто друго цврсто, контактот ќе биде со значително помека површина. Барањето за патентот е поднесено во 2015-тата година, а одобрено е на почетокот на овој месец – па не би биле изненадени доколку оваа технологија ја видиме во некој од моделите на Mercedes-Benz кои набргу треба да се појават на пазарот.



